产品展示
GWDRYZ-25不锈钢电磁阀
■概述
此阀适用于城市煤气、液化石油气、天然气等多种煤气为加热燃烧介质管路做二位式通断功换,进行温度自动控制的执行机构,它广泛应用于纺织业、印刷业的煤气热定型和玻璃、灯泡业的窑炉加热及其它行业的煤气加热自控系统。
■技术参数:
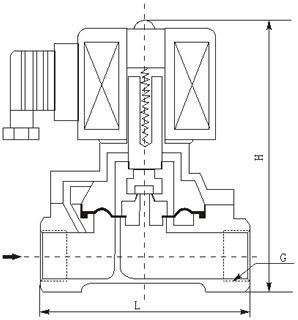
| 公称通径DN | 内螺纹连接 | 法兰连接 | |||||||||
| 外形尺寸 | 内螺纹 | 外形尺寸 | 法兰尺寸 | ||||||||
| H | L | G | H | L | D | D1 | D2 | b | f | n-d | |
| 15 | 148 | 92 | 1/2 | ||||||||
| 20 | 148 | 92 | 3/4 | ||||||||
| 25 | 148 | 110 | 1 | ||||||||
| 32 | 182 | 120 | 11/4 | ||||||||
| 40 | 182 | 140 | 11/2 | ||||||||
| 50 | 192 | 162 | 2 | ||||||||
| 65 | 324 | 250 | 185 | 145 | 118 | 20 | 3 | 4-φ18 | |||
| 80 | 335 | 270 | 200 | 160 | 132 | 20 | 3 | 8-φ18 | |||
| 100 | 475 | 320 | 220 | 180 | 156 | 22 | 3 | 8-φ18 | |||
| 125 | 516 | 360 | 250 | 210 | 184 | 22 | 3 | 8-φ18 | |||
| 150 | 540 | 400 | 285 | 240 | 211 | 24 | 3 | 8-φ22 | |||
| 200 | 540 | 600 | 340 | 295 | 266 | 24 | 3 | 8-φ22 | |||
| 250 | 610 | 750 | 395 | 350 | 319 | 26 | 3 | 12-φ22 | |||
| 300 | 640 | 850 | 445 | 400 | 370 | 26 | 4 | 12-φ22 | |||

| 工作介质 | 煤气、天然气等 | ||||||||||||||
| 介质温度℃ | ≤60 | ||||||||||||||
| 工作压力 MPa | 1.0 | ||||||||||||||
| 工作压差 MPa | 0~0.02 | 0~0.04 | |||||||||||||
| 电源电压 | AC220V其余规格可作特殊订货 | ||||||||||||||
| 使用寿命 | 按JB/T7352-94规定 | ||||||||||||||
| 额定流量系数 KV | |||||||||||||||
| 泄漏量 ml/min | 按JB/T7352-94·F规定 | ||||||||||||||
| 公称通径 mm | 10 | 15 | 20 | 25 | 32 | 40 | 50 | 65 | 80 | 100 | 125 | 150 | 200 | 250 | 300 |
| 功 耗 | 50VA | 90VA | 170VA | 470VA | |||||||||||

